Чем отличается шуруп от самореза
Основное различие между шурупом (стандартным винтом с острым концом) и саморезом (самонарезающим винтом) заключается в подготовке основания и механическом взаимодействии между резьбой крепёжного элемента и материалом, в который он ввинчивается.
Как отличить саморез от шурупа
Стандартный винт (он ше шуруп) предназначен для вкручивания в предварительно подготовленное отверстие. В отличие от шурупа, саморез сконструирован таким образом, что при завинчивании в материал он сам образует ответную резьбу, фактически выступая одновременно в качестве крепёжного элемента и режущего инструмента.Основное различие в механической конструкции заключается в профиле резьбы и геометрии наконечника. Шурупы обычно имеют равномерный шаг резьбы и затупленный конец, поскольку они не предназначены для образования отверстия. Так как они не способны резать или деформировать материал для создания канала, попытка вкрутить шуруп в твёрдый материал без преварительного сверления отверстия приведёт к тому, что крепежный элемент не зафиксируется или, что более вероятно, сломается. Иными словами, прежде чем вкрутить шуруп, нужно взять дрель и просверлить отверстие. Это отвестие должно быть меньшего диаметра, чем наружный диаметр резьбы, чтобы крепёжный элемент смог зафиксироваться в толще материала.
Саморезы, напротив, изготавливаются из закалённых материалов и имеют особую геометрию резьбы — часто с коническим острием или специальными канавками — что позволяет им смещать или резать материал в процессе вкручивания. Когда самонарезающий винт вставляется в предварительно просверленное отверстие, резьба действует как клин, деформируя материал и создавая спиральную канавку, соответствующую профилю резьбы винта.
Поскольку самонарезающие винты должны преодолевать сопротивление материала для образования резьбы, их почти исключительно изготавливают из высокопрочной углеродистой или нержавеющей стали, прошедшей термообработку.
Области применения
Шурупы используются в сборочных работах, где требуется высокая точность подгонки, где отверстие предварительно подготавливается для обеспечения структурной целостности. Саморезы предпочтительны в строительстве, сборке листового металла и прочих подобных работах, где время и затраты на предварительное сверление отверстий слишком высоки. Самонарезающие винты можно использовать в дереве, пластике и мягких металлах; они отличаются от самосверлящих винтов, которые имеют наконечник, похожий на сверло, который удаляет материал для создания отверстия до того, как начнёт работать резьба.Классификация саморезов
В России существует ГОСТ Р 59571, который распространяется на стальные самонарезающие винты (далее — винты), предназначенные для крепления гипсокартонных плит к деревянным и металлическим конструкциям, на винты, предназначенные для соединения дерева, древесностружечных плит, а также на винты для соединения металлических листов между собой и для крепления к стальным несущим конструкциям без предварительного сверления отверстия.Самонарезающий винт (саморез) - это крепёжное изделие в виде стержня с головкой и специальной наружной резьбой, образующей внутреннюю резьбу в отверстии соединяемого предмета. Имеет треугольную резьбу на цилиндрической поверхности, полностью или не полностью закрывающую цилиндрическую поверхность.
По назначению саморезы делятся на следующие разновидности:
ГКМ — гипсокартон металл;
ГКД — гипсокартон дерево;
УН — универсальные;
ПШ — пресс-шайба;
ПШС — пресс-шайба сверло.
Самонарезающие винты подразделяют на следующие типы:
- тип А — самонарезающие винты, предназначенные для крепления гипсокартонных плит к деревянным и металлическим конструкциям;
- тип Б — самонарезающие винты, предназначенные для дерева;
- тип В — самонарезающие винты, предназначенные для крепления листов металла.
Самонарезающие винты разных типов могут быть изготовлены следующих исполнений:
- тип А:
- исполнение 1 — винты, предназначенные для крепления гипсокартонных плит к металлическим конструкциям, с мелким шагом резьбы, резьба двухзаходная, с резьбой на всей длине стержня, с неполной резьбой. ГКМ;
- исполнение 2 — винты, предназначенные для крепления гипсокартонных плит к деревянным конструкциям, с крупным шагом резьбы, резьба однозаходная. с резьбой на всей длине стержня, с неполной резьбой, ГКД;
- тип Б — винты, предназначенные для соединения дерева и древесностружечных плит, с резьбой на всей длине стержня или с неполной резьбой, УН;
- тип В:
- исполнение 1 — винты для соединения металлических листов между собой, острый конец, резьба двухзаходная с резьбой на всей длине стержня, ПШ;
- исполнение 2 — винты для соединения металлических листов между собой и для крепления к стальным несущим конструкциям, конец типа «сверло», резьба однозаходная и двухзаходная, с резьбой на всей длине стержня, ПШС.
Конструкционно самонарезающие винты могут быть разными.
Винты изготавливают с мелким и крупным шагом резьбы.
Винты могут быть изготовлены с однозаходной или двухзаходной резьбой.
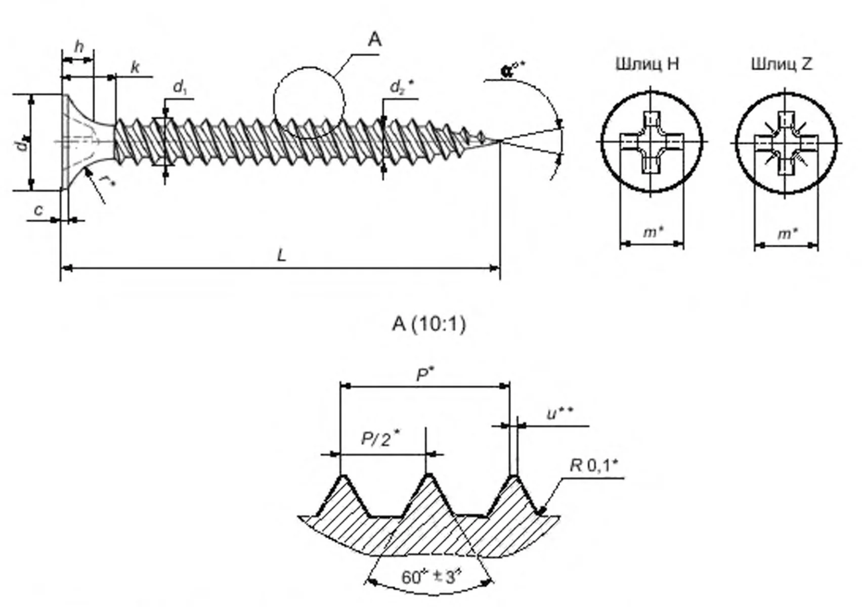
Головки винтов должны иметь крестообразный шлиц типа Н или Z.
Винты могут быть изготовлены с коническим (острым) концом или концом типа «сверло».
Саморезы, изготовленные по ГОСТ, могут быть с фосфатным, пропитанным маслом, покрытием, с цинковым покрытием толщиной не менее 5 мкм и конверсионной обработкой (пассивацией) на основе трехвалентного хрома, либо другой обработкой, исключающей использование шестивалентного хрома. Шурупы могут быть как без покрытия, так и с цинковым покрытием, нанесенным способом катодного восстановления, хроматированным.
Шурупы с потайной головкой и конусообразным концом также как и саморезы могут быть изготовлены с прямым или крестообразным шлицем. Угол заострения концов саморезов и шурупов одианок и находится в диапазоне 40-45 градусов. То есть, внешне шурупы малоотличимы от саморезов. Главное отличие - наличие или отсутствие резьбообразующей способности, способности просверливать материал.
В настоящее время отсутствует национальный стандарт на винты самонарезающие. Все стандарты, принятые на национальном и межгосударственном уровне, являются аутентичными переводами иностранных стандартов (в основном ИСО).
Согласно ИСО, то, что многие привыкли называть саморезами и шурупами, классифицируется иначе. Крепёж с потайной головкой и резьбой делится на 2 основных вида: самонарезающий и самосверлящий.
Самонарезающие винты – это винты с потайной головкой, резьбой и с конусообразным концом (у нас их часто называют «остроконечные»).
Самосверлящие винты – это винты с потайной головкой, резьбой и с сверлообразным концом.
Поскольку у самонарезающих винтов нет сверла, на первом этапе работы необходимо просверлить сквозное отверстие. То есть, зарубежные стандарты предполагают необходимость обязательность предварительного сверления отверстий для саморезов с острым концом, тем самым не делая различий между шурупами с потайной головкой и остроконечными саморезами.
В конструкции самонарезающего крепежа резьбонарезающий винт выполнен с режущим наконечником, поэтому нет необходимости предварительно сверлить материал. Сквозное отверстие, внутренняя резьба и крепление выполняются за один рабочий этап.
Таким образом, правильнее разделять винты с потайной головкой и острым концом не на шурупы и саморезы, а на самонарезающие и на самосверлящие винты.
Товары
